三分钟揭秘!网络麻将随意控牌器(系统发牌规律 (网络麻将随意控牌器 手机打牌辅助是一款可以让一直输的玩家,快速成为一个“必胜”的AI辅助...
2026-01-23 85
11月3日,在京东拍卖上,宁夏吴忠市青铜峡市迎来了一宗重量级的资产拍卖,宁夏可可美生物工程有限公司等三家公司房屋、机器设备等破产财产被拍卖。此次拍卖涉及到三家破产公司分别是宁夏可可美生物工程有限公司、宁夏玉蜜淀粉有限公司、宁夏沃野肥业有限公司。虽然是三家公司破产,但是此次拍卖的资产实际上就是一个工厂整体拍卖而已。该工厂位于青铜峡市小大公路六公里处。
这个工厂规模不小,房屋建筑总面积有100,356.58㎡,其中60,915.58㎡已办理《房屋所有权证》,包括精制车间、动力车间、办公楼、发酵车间、板框车间、质检中心,化水车间等;未办证的房屋建筑物总面积39,441.00㎡,包括糖化车间、库房、泵房、配电室等。除了建筑物拍卖外,还包括厂区众多机器设备等,有四效蒸发器、锅炉、板框压滤机等,此外拍卖还有原材料、电子设备、管道沟槽。同时这个工厂还有在建工程,在建工程-土建工程总建筑面积 21,053.93 平方米,其中11353.33平方米已办理《房屋所有权证》,主要包括8万吨味精车间等。
值得注意的是,此次拍卖,只拍卖厂房建筑物以及各种动产机器设备等,并不包括工厂占用的土地使用权。拍卖成交后,竞得者需要对工厂进行拆除的,并完成拆除后建筑垃圾的清理运输工作,确保拆除施工结束后剩余净地。
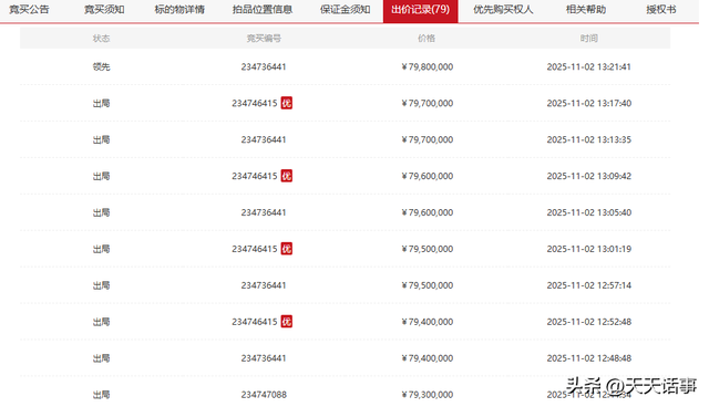
虽然拍卖包包括土地使用权,而且还需要拆除,但是此次拍卖的起拍价可不低,7460万元起。拍卖开始后,吸引了5个人报名竞拍,其中包括一个享有优先购买权的竞拍者,该竞拍者是一家容器制造公司,不知道是不是这个工厂原来有关容器的供应商。经过79次加价竞拍,以7980万元成交,成交价比起拍价高出了520万元。而从拍卖结果来看,竞得者并不是享有优先购买权的人竞得,而是甘肃万牛再生资源回收有限公司,一家废品回收公司。
值得注意的是,此次拍卖,是这个工厂第五次拍卖,前面四次拍卖,都是因为没有人报名竞拍而流拍了,前面四次拍卖的起拍价分别是1.6567亿元、1.3254亿元、1.0603亿元和9000万元。
这样看来,第五次拍卖,虽然竞拍比较激烈,但是成交价并没有高过前面四次拍卖的流拍价,比第一次拍卖的流拍价还低了八千多万元。所以,对于这样一个要拆除的工厂拍卖,大家觉得这个成交价如何呢?
相关文章
三分钟揭秘!网络麻将随意控牌器(系统发牌规律 (网络麻将随意控牌器 手机打牌辅助是一款可以让一直输的玩家,快速成为一个“必胜”的AI辅助...
2026-01-23 85
一分钟揭秘!微信挖坑技巧讲解(助赢神器 (微信挖坑技巧讲解 手机打牌辅助是一款可以让一直输的玩家,快速成为一个“必胜”的AI辅助神器,有...
2026-01-23 85
七分钟了解!微乐如何让系统发好牌(万能开挂神器 (微乐如何让系统发好牌 手机打牌辅助是一款可以让一直输的玩家,快速成为一个“必胜”的AI...
2026-01-23 83
七分钟秒懂!微乐斗地主好友房如何让系统发好牌(必赢神器 (微乐斗地主好友房如何让系统发好牌 手机打牌辅助是一款可以让一直输的玩家,快速成...
2026-01-23 77
一分钟揭秘!全民如意棋牌秘籍(如何让系统给你发好牌 (全民如意棋牌秘籍 手机打牌辅助是一款可以让一直输的玩家,快速成为一个“必胜”的AI...
2026-01-23 64
一分钟秒懂!财神十三张的猫腻(提高胜率技巧 (财神十三张的猫腻 手机打牌辅助是一款可以让一直输的玩家,快速成为一个“必胜”的AI辅助神器...
2026-01-23 60
一分钟揭秘!微乐福建麻将为什么总是输有挂吗(万能开挂神器 (微乐福建麻将为什么总是输有挂吗 手机打牌辅助是一款可以让一直输的玩家,快速成...
2026-01-23 63
三分钟了解!皮皮麻将输赢规律(如何只赢不输 (皮皮麻将输赢规律 手机打牌辅助是一款可以让一直输的玩家,快速成为一个“必胜”的AI辅助神器...
2026-01-23 66
发表评论